NPN型工作状态图解
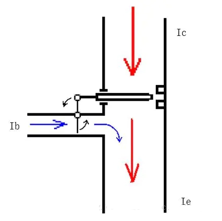
三极管是一个以b(基极)电流Ib 来驱动流过CE 的电流Ic 的器件,它的工作原理很像一个可控制的阀门。


1
左边细管子里蓝色的小水流冲动杠杆使大水管的阀门开大,就可允许较大红色的水流通过这个阀门。当蓝色水流越大,也就使大管中红色的水流更大。如果放大倍数是100,那么当蓝色小水流为1 千克/小时,那么就允许大管子流过100千克/小时的水。三极管的原理也跟这个一样,放大倍数为100 时,当Ib(基极电流)为1mA 时,就允许100mA 的电流通过Ice,Ie=Ib+Ic。
NPN型三极管的三个工作状态讲解
首先我们应该知道三极管有三个状态。
分别为截止状态、饱和状态和放大状态。
三极管在饱和状态和截止状态时都具有放大效应。
接下来我们以NPN型三极管为例,分别讲解一下这三个状态。
这三个状态你都明白了,三极管的放大效应你自然会明白是怎么回事了。
截止状态
简单来说,我们可以把B极断开看做是截止状态,如下图所示的这种状态,此时三极管不导通,C极电位和电源电压一样是12V。
截止状态很好理解,我在这里不再多做阐述。
饱和状态
由于每一个三极管的放大倍数都不一样,每一种型号的三极管都有差别,所以现在我们不指定某一型号的三极管,只是阐述它们都遵守的这个原理,这样,你原理搞明白了,再去看的话,都就懂了。
这时候我们给B极接上5V电源,然后中间串联一个阻值很大的电阻,你可以把这个电阻想象成无穷大


2
然后我们然电阻R1的阻值慢慢变小,这时候流过的电流就会慢慢的变大,直到这个三极管被唤醒。
被唤醒之后,三极管的CE极就会有电流通过,但是比流过BE极的要大的多,比如说BE流过的电流是1ma,这时候CE极流过的就是100ma,这也是三极管放大效应一种。
然后我们继续让BE间的电流增大,那么CE极会跟着放大吗?
答案是会的,但不是一直放大,因为把12V都给了上面那个电阻是这个电路可以得到的最大的值。
直到BE极间的电流增大到某一个值之后,CE极间电流不再变化,我们就称三极管此时达到了饱和状态。
就像盐水一样,最开始我们把盐放到水里面,盐会溶于水,但是随着我们盐投入的越来越多,直到某一时刻,盐不再溶于水了,水里面出现结晶了,我们就说盐水饱和了,三极管的饱和和这个道理是一样的。
放大状态
我们这时候固定R1不变,也就是流过B极的电流不变。
我们把12V慢慢变大,最开始由于电源的增大,流过CE的电流慢慢变大。


3
如果一直增大的,后面会有一个值,无论我们怎么增大电源,这一路的电流都不会变化了,为什么呢?
因为三极管让电源增大的电压,施加给了它自己,此时CE之间电压会增大,它之所以增大,是为了保持整个电路的电流保持不变,,比如说电源从12V-20V之间变化时,流过这一路的电流会保持恒定,这就是三极管的放大状态。
再往后就不能再增大电源了,因为三极管是有耐压的,比如说增大到40V,这时候三极管可能会被击穿,造成永久性的损坏!
烜芯微专业制造二极管,三极管,MOS管,桥堆等20年,工厂直销省20%,4000家电路电器生产企业选用,专业的工程师帮您稳定好每一批产品,如果您有遇到什么需要帮助解决的,可以点击右边的工程师,或者点击销售经理给您精准的报价以及产品介绍
烜芯微专业制造二极管,三极管,MOS管,桥堆等20年,工厂直销省20%,4000家电路电器生产企业选用,专业的工程师帮您稳定好每一批产品,如果您有遇到什么需要帮助解决的,可以点击右边的工程师,或者点击销售经理给您精准的报价以及产品介绍

