随着电子科技的发展,电源模块因其小体积、高效率、宽输入电压范围、高可靠性、良好的抗冲击能力、宽温度范围等优点,广泛应用在工业电气、自动化电子、通信、医疗、交通、新能源、仪器仪表、汽车电子、航空航天、军工科研等领域设备。因为体积较小,通常需要外加电路设计,是一款板载电源。下面浅谈下提高电源模块应用电路设计稳定性的几个要点。
1、两级浪涌保护电路。电源模块很小,在高电磁兼容性要求的场合,需要增加额外的浪涌保护电路来提高系统的电磁兼容性。


如上图所示:为了提高输入级的浪涌保护能力,在外围增加了压敏电阻和TVS管。然而,图中的电路a、 b最初是为了实现两级保护,但可能会适得其反。如果a中MOV2的压敏电压和通流能力低于MOV1,在强干扰情况下,MOV2可能无法承受浪涌冲击而提前损坏,导致整个系统瘫痪。同样,在电路b中,由于TVS的响应速度比MOV快,往往MOV未起作用,而TVS过早损坏。
添加电感器以形成两级保护电路。如电路c、 d所示,电感串联,将保护器件分隔为两级。对于高频浪涌脉冲,电感阻抗较大,因此前端的变阻器首先起作用,而后端的压敏和TVS可以进一步吸收剩余电压保护模块。此外,即使是单级保护,增加电感也能起到一定的作用,从而避免浪涌电压直接加到模块输入端。
2、输出滤波电容过大,导致模块异常。通常建议在电源模块的输出端增加一定的滤波电容。然而,由于认识不足等原因,使用了过大的输出滤波电容,不仅增加了成本,而且降低了系统的稳定性。例如3W模块的输出使用1000uF的电容,并且从产品手册中得知该模块的最大输出电容为680uF。过大的输出电容可能导致启动不良,而对于没有短路保护的微功率DC-DC模块,过大的输出电容甚至可能导致模块的永久性损坏。


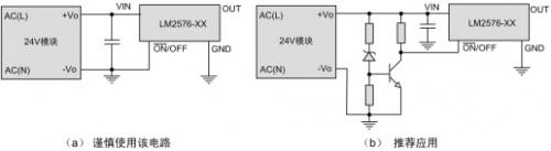
3、连接开关电源芯片,注意启动不良。如上图所示:电源模块的输出电压逐渐建立。电路A的LM2576未设计欠压锁定,当VIN电压较低时开始启动,如果输出负载过重,可能被24V模块误判为短路或容性负载过大,导致启动不良。
因此,建议使用电路b,外部简单欠压锁定,24V模块的输出电压达到预设值后,再启动外接开关电源芯片,如LM2576,这样可以很大程度上避免启动不良的问题。或者使用功率余量大的电源模块,开/关引脚也可以连接到MCU进行控制。
4、双路模块,注意负载平衡。对于双路输出模块,双路输出对负载的要求是不同的。通常,这种模块只向一路提供稳压反馈,另一路通过变压器耦合达到所需的电压,当主路负载过重而辅路过轻时,辅路的电压会升高。当辅路有严格的电压要求时,有必要增加一个三端稳压器。当非稳定辅路负载过重且主路较轻时,输出电压可能不稳定或辅路电压过低,需要给主路添加假负载。
5、并联和冗余不是一回事。当你有两个相同的模块,并且单个模块的功率不足时,很自然地会考虑并联使用来满足功率需求。然而,采用普通电源模块并联提高功率的方法存在很大的隐患,输出电压高的模块需要提供过大的电流而导致模块过功率。例如负载需要5W的功率,这超过了单个模块的负载能力,因此,其中一个模块可能过载。对于这种应用,应使用功率大于5W的单个模块。而下图电路b不是,并且每个模块的功率可以满足负载的需要,这是冗余设计。


6、虽然钽电容很好,但应注意是否放置在电源的输入和输出端。二氧化锰钽电容器容易击穿短路,抗浪涌能力差,启动时很可能形成大的浪涌电流或电压,导致钽电容烧毁短路或过压击穿。在没有严格评估的情况下,建议使用陶瓷电容器或电解电容器。
烜芯微专业制造二极管,三极管,MOS管,桥堆等20年,工厂直销省20%,4000家电路电器生产企业选用,专业的工程师帮您稳定好每一批产品,如果您有遇到什么需要帮助解决的,可以点击右边的工程师,或者点击销售经理给您精准的报价以及产品介绍
烜芯微专业制造二极管,三极管,MOS管,桥堆等20年,工厂直销省20%,4000家电路电器生产企业选用,专业的工程师帮您稳定好每一批产品,如果您有遇到什么需要帮助解决的,可以点击右边的工程师,或者点击销售经理给您精准的报价以及产品介绍

