偏置电流如何补偿
对于我们常用的反相运算放大器,其典型电路如下:

在这种情况下,R3为平衡电阻,这样,在可以很好的保证运放的电流补偿,使正负端偏置电流相等。取值更大时,会产生更大的噪声和飘逸。但是,应大于输入信号源的内阻。
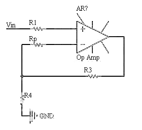
当为同相放大器的时候,其原理又是什么呢?现在我们先回顾下同相运放的设计电路:

当计算出的Rp为负值时,需要将该电阻移动到正相端,与R1串联在输入端。
这里额外多插入一句,同相比例运放具有高输入阻抗,低输出阻抗的特性,广泛应用在前置运放电路中。
相位补偿如何选择
当我们阅读一个集成运放数据手册的时候,会发现集成运放的内部其实是一个多级的放大器,因此,不可避免的对系统引入了极点使得电路需要进行相位补偿。通常采用超前补偿、滞后补偿和滞后-超前补偿。
所谓的超前补偿就是相移减小的补偿,通俗的讲就是使电路出现零点,在该频率处的输出信号比输入信号的相位超前45°。通过计算将出现极点的频率点人工设计出一个零点,从而使系统变得稳定。

滞后补偿通常可以理解为使相移增大的补偿。可以使主极点频率降低,使放大器频带变窄,这样,就可以使运放电路在有限的带宽内只有一个极点,使运放电路变得容易调整。

第三种就是超前-滞后补偿,即采用合适的方法来处理运放单元。总之,万变不离其宗。

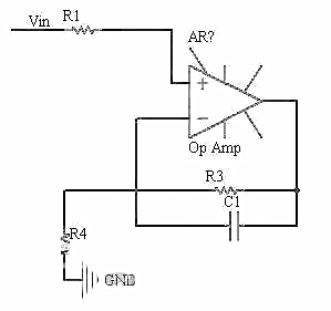
容性负载该怎么处理
在平时的电子电路设计中,会由于不小心或者不注意负载的特性,而使电路变得震荡,这时,我们就应该注意负载的特性了。
通常情况下,当负载为容性,通过估计其电容值小于2000pF时,通过在负载和运放的输出端串联一个小的电阻来消除震荡。电阻R2的大小为10-300Ω之间。

当负载较大时,我们采用如下的方案进行消除:

补偿电容C2与反馈电阻R3构成超前补偿网络,形成新的零点,抵消容性负载Cl和运放输出电阻Ro构成的新极点,从而达到消除震荡的目的。此时的补偿电容C2大小为C2=Cl(Ro+Rk)/R3 ,Rk取经验值10-300Ω。
〈烜芯微/XXW〉专业制造二极管,三极管,MOS管,桥堆等,20年,工厂直销省20%,上万家电路电器生产企业选用,专业的工程师帮您稳定好每一批产品,如果您有遇到什么需要帮助解决的,可以直接联系下方的联系号码或加QQ/微信,由我们的销售经理给您精准的报价以及产品介绍
联系号码:18923864027(同微信)
QQ:709211280

