极速快3

您好!欢迎光临极速快3品牌官网!

深圳市极速快3有限公司

ShenZhen XuanXinWei Technoligy Co.,Ltd
二极管、三极管、MOS管、桥堆

全国服务热线:18923864027

  • 热门关键词:
  • 桥堆
  • 场效应管
  • 三极管
  • 二极管
  • MOS管在形成导电沟道时出现的耗尽层与反型层的区别是什么
    • 发布时间:2024-12-31 18:24:29
    • 来源:
    • 阅读次数:
    MOS管在形成导电沟道时出现的耗尽层与反型层的区别是什么
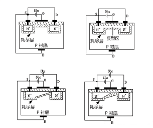
    MOS 管根据导电沟道的类型可以分为 N 沟道和 P 沟道两种。在 MOS 管形成导电沟道的过程中,会涉及到耗尽层和反型层两个概念,那么它们到底有什么区别呢?
    耗尽层,顾名思义,是指在 MOS 管中电子被耗尽的区域。
    在 N 沟道 MOS 管中,当栅极施加正电压时,栅极附近的电子被排斥,形成一个电子空缺区域,这就是耗尽层。相反,在 P 沟道 MOS 管中,当栅极施加负电压时,栅极附近的空穴被排斥,形成一个空穴空缺区域,这也是耗尽层。
    这里要敲重点,耗尽层中的载流子浓度非常低,几乎为零,所以它具有很高的电阻。
    反型层,则是指在 MOS 管中由于栅极电压的施加,导致载流子类型发生反转的区域。
    在 N 沟道 MOS 管中,当栅极施加正电压时,排斥空穴的同时,也会吸引衬底中的自由电子。这些电子被吸引到耗尽层和绝缘层(SiO2)之间,形成一个 n 型薄区,称为反型层。反型层中的载流子类型与衬底相反,因此在 N 沟道 MOS 管中,反型层为 p 型。同样,在 P 沟道 MOS 管中,当栅极施加负电压时,排斥电子的同时,也会吸引衬底中的空穴。
    这些空穴被吸引到耗尽层和绝缘层之间,形成一个 p 型薄区,称为反型层。反型层中的载流子类型与衬底相反,因此在 P 沟道 MOS 管中,反型层为 n 型。
    MOS管 导电沟道 耗尽层 反型层
    回到本文主题 耗尽层和反型层有什么区别呢?
    简单来说,它们都是由于栅极电压的施加,在 MOS 管中形成的特殊区域。但它们的载流子类型不同,耗尽层中的载流子浓度几乎为零,而反型层中的载流子类型与衬底相反。此外,耗尽层在 MOS 管工作过程中会随着栅极电压的变化而变化,而反型层则相对稳定。
    此外,耗尽层和反型层在 MOS 管中的作用有所不同:耗尽层主要是排斥栅极附近的电子,降低漏电流;而反型层则是形成源漏之间的导电沟道,负责电流的传输。
    两者之间的区别可以用一句话概括:耗尽层是“电子荒漠”,反型层是“电子通道”。
    最后,我们来讲下耗尽层和反型层的实际应用情况
    1. 结构方面:耗尽层是一种电子空缺区域,几乎没有自由电子;而反型层是一种电子浓度较高的 n 型薄区,可以导电。
    2. 功能方面:耗尽层主要作用是隔离源漏,防止电流流过去;反型层则是负责在源漏之间形成导电沟道,承担电流传输任务。
    3. 电流方向:在NMOS 管中,耗尽层处于栅极和源极之间,反型层处于栅极和漏极之间;在 PMOS 管中,耗尽层和反型层的位置刚好相反。
    MOS管 导电沟道 耗尽层 反型层
    〈烜芯微/XXW〉专业制造二极管,三极管,MOS管,桥堆等,20年,工厂直销省20%,上万家电路电器生产企业选用,专业的工程师帮您稳定好每一批产品,如果您有遇到什么需要帮助解决的,可以直接联系下方的联系号码或加QQ/微信,由我们的销售经理给您精准的报价以及产品介绍
    联系号码:18923864027(同微信)
     
    QQ:709211280
    相关阅读
    79991cm德彩网 美彩国际7709 佰富彩采购大厅-欢迎您 名贯彩票-大发精准计划 88爱彩 - 欢迎您 美彩国际 - 欢迎您 德彩网 - 欢迎您 79991cm德彩网