极速快3

您好!欢迎光临极速快3品牌官网!

深圳市极速快3有限公司

ShenZhen XuanXinWei Technoligy Co.,Ltd
二极管、三极管、MOS管、桥堆

全国服务热线:18923864027

  • 热门关键词:
  • 桥堆
  • 场效应管
  • 三极管
  • 二极管
  • 拉电流与灌电流的概念的区别介绍
    • 发布时间:2025-05-24 18:16:57
    • 来源:
    • 阅读次数:
    拉电流与灌电流的概念的区别介绍
    精准把握拉电流与灌电流的概念及其特性,对于实现高效、稳定电路设计至关重要。二者作为衡量电路输出驱动能力的关键参数,广泛应用于数字电路中,以下将详细剖析其内涵、区别及应用。
    一、核心概念
    拉电流,即当逻辑门或输出端口输出高电平时,向负载提供的电流。此时电流方向是从输出端口向外流动,故称“拉”电流。例如,当输出高电平使 LED 点亮,电流从输出端口流出,驱动 LED 发光,这便体现了拉电流的作用。
    灌电流则是当逻辑门或输出端口输出低电平时,由负载流向输出端口的电流。电流方向与拉电流相反,从外部流入输出端口,因此得名“灌”电流。若输出低电平使 LED 亮起,电流从 LED 流向输出端口,这就是灌电流在发挥作用。
    数字电路中仅有高、低两种电平。高电平输出时,输出端为负载供电,电流数值即拉电流;低电平时,输出端吸收负载电流,数值称为灌电流。
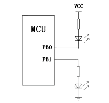
    拉电流 灌电流
    图示中,PB0 输出 0,LED 亮起,电流流向 PB0,是灌电流;PB1 输出 1,LED 亮起,电流从 PB1 流出,是拉电流。
    二、关键区别
    (一)驱动能力
    多数逻辑电路(如数字电路、单片机)和模拟电路(如运放、比较器),拉电流能力较弱,常仅几毫安(小于 5mA),灌电流能力则相对较强,可达 5~10mA。
    拉电流 灌电流
    (二)电流流向
    灌电流从负载流向电源,拉电流从电源流向负载。灌电流是信号源或电源流出的电流,拉电流是电路元件吸收或接收的电流。
    三、应用场景
    灌电流常用于驱动电路,如 LED 灯、电机等,需从电源获取电能驱动负载。拉电流多见于充电电路,如电池充电器、USB 充电器等,负责将电能从电源传输到负载充电。
    四、电路设计要求
    灌电流模式下,电路设计需考虑负载电阻和功率需求,确保电路提供足够驱动电流。拉电流模式下,电路设计要兼顾电源输出能力和负载充电需求,保障充电过程中电压、电流充足。
    在数字电路及各类电子设备的电路设计中,深入理解拉电流与灌电流特性及差异,精准把握设计要点,对提升电路性能、优化能源转换效率、保障设备稳定运行具有关键意义。
    〈烜芯微/XXW〉专业制造二极管,三极管,MOS管,桥堆等,20年,工厂直销省20%,上万家电路电器生产企业选用,专业的工程师帮您稳定好每一批产品,如果您有遇到什么需要帮助解决的,可以直接联系下方的联系号码或加QQ/微信,由我们的销售经理给您精准的报价以及产品介绍
     
    联系号码:18923864027(同微信)
     
    QQ:709211280

    相关阅读
    79991cm德彩网 美彩国际7709 佰富彩采购大厅-欢迎您 名贯彩票-大发精准计划 88爱彩 - 欢迎您 美彩国际 - 欢迎您 德彩网 - 欢迎您 79991cm德彩网